Fundatia casei
NOŢIUNI GENERALE DESPRE FUNDAŢII
Fundatia este elementul de constructie care se afla în contact direct cu terenul bun de fundare si transmite acestuia toate încarcarile care actioneaza constructia.
Încarcarile trebuie astfel repartizate pe talpa fundatiei încât sa nu fie depasita capacitatea portanta a terenului, iar tasarile care rezulta sa fie cât mai uniforme si sa poata fi suportate de constructie fara urmari asupra acesteia.
Capacitatea portanta a terenului este presiunea maxima pe care o poate suporta terenul de fundare, fara a exista pericolul ruperii acestuia, sau al unor tasari care sa pericliteze constructia.
- CLASIFICAREA FUNDAŢIILOR
Fundatiile pot fi clasificate dupa urmatoarele criterii:
- Dupa adâncimea de fundare ( adâncimea la care se gaseste terenul bun de fundare ) sunt:
-fundatii de suprafata ( de mica adâncime ) sau fundatii directe;
-fundatii de adâncime sau fundatii indirecte.
- Dupa modul de executie fata de nivelul apelor subterane avem:
-fundatii executate deasupra nivelului apei freatice ( fundatii executate în uscat );
-fundatii executate sub nivelul apei freatice ( fundatii executate sub apa ).
- Dupa materialele folosite, fundatiile sunt:
-fundatii rigide ( din piatra naturala, caramida, beton simplu sau ciclopian );
-fundatii elastice ( din beton armat ).
- Dupa forma lor în plan se deosebesc:
-fundatii izolate
-fundatii continue sub ziduri sau sub stâlpi ( talpi continue )
-fundatii cu retele de grinzi ( talpi încrucisate )
-fundatii pe radier general – placa continua, placa cu grinzi.
- Dupa tehnologia de executie pot fi:
-fundatii executate la fata locului, direct în groapa de fundatie ( monolite )
-fundatii prefabricate
- ALEGEREA TIPULUI DE FUNDAŢIE
Alegerea tipului de fundatie se face pe baza unei analize tehnico-economice a structurii de rezistenta în ansamblu.
Tipul de fundatie, adâncimile de fundare, presiunile pe teren, materialele pentru fundatii se vor alege tinând seama de:
-conditiile climatice ( adâncimea de înghet, cantitatea de precipitatii etc. )
-conditiile de stabilitate generala a amplasamentului
-adâncimile, natura, grosimile si caracteristicile fizico-mecanice si chimice ale straturilor de pamânt de sub talpa fundatiei determinate cu ajutorul studiilor geotehnice
-conditiile hidrogeologice ale terenului ( ape subterane si de suprafata, proprietatile lor chimice, agresivitate, posibilitatea patrunderii acesteia la fundatii etc. )
-gradul de importanta al cladirii
-seismicitatea regiunii
-caracteristicile structurii de rezistenta a constructiei, existenta subsolurilor, densitatea si felul elementelor verticale portante ( pereti, stâlpi )
-marimea si uniformitatea în plan a încarcarilor transmise de constructie
- STABILIREA COTEI DE FUNDARE
Una din problemele de baza ale proiectarii fundatiilor este stabilirea cotei de fundare. Aceasta se alege tinându-se seama de: cota minima de înghet, cota fundatiilor vecine, cota minima constructiva de fundare, cota apelor freatice, caracteristicile geotehnice etc.
Cota minima de înghet H i. Adâncimea de înghet este în functie de zona climatica si are valori cuprinse între 60..70 cm ( minime ) si 1,10.1,15 m ( maxime ); adâncimea de înghet se masoara de la cota terenului nivelat din jurul constructiei. Cota minima de fundare pentru talpa fundatiei se stabileste totdeauna cu 10.20 cm sub adâncimea minima de înghet pentru ca fundatia sa rezeme pe un strat de pamânt nedeformabil.
Cota fundatiilor vecine. La stabilirea cotei de fundare se face o corelare între cota noii fundatii si cotele eventualelor fundatii vecine, pentru a nu se produce perturbatii ale stabilitatii acestora.
Cota apelor freatice. Se urmareste ca aceasta cota sa ramâna sub cota de fundare, deoarece executia este dificila.
Caracteristicile geotehnice. Cercetarile geotehnice furnizeaza elemente cu privire la terenul de fundare si determina solutiile ce trebuie adoptate; acestea se refera la: caracteristicile geotehnice, presiuni admisibile, tasari etc.
Cota minima constructiva de fundare H. Aceasta se ia:
-pentru ziduri exterioare ( sau interioare reci ) între H i si H i + 20 cm, unde H i este adâncimea de înghet si în general nu mai putin de 80.90 cm pentru constructii definitive si 60..70 cm pentru constructii provizorii;
-pentru ziduri interioare în spatii calde si la constructii fara subsol H = 40.50 cm; la constructii cu subsol H = 40 cm, de la nivelul placii subsolului.
Talpile fundatiilor trebuie sa patrunda cel putin 20 cm în stratul de teren bun de fundare.
- FUNDAŢII DIRECTE
Fundatiile directe sau de mica adâncime se folosesc când terenul bun de fundare se gaseste la adâncime mica fata de nivelul terenului natural si pot fi:
-fundatii rigide, continue sau izolate
-fundatii elastice, continue sau izolate
- FUNDAŢII SUB ZIDURI ( PEREŢI )
1.1. Fundatii continue de beton simplu sub ziduri.
Dupa forma sectiunii transversale fundatiile de beton simplu pot fi: dreptunghiulare, cu evazari si în trepte.
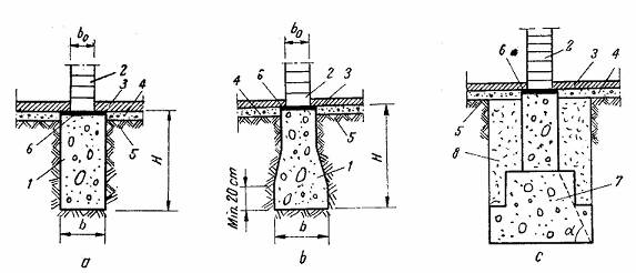
- Fundatii cu sectiune dreptunghiulara ( fig. 1a )
Latimea blocului de fundatie trebuie sa fie mai mare decât a zidului sau soclului cu 5.10 cm de fiecare parte. La rândul sau soclul ( când exista ), va fi mai mare cu cel putin 2,5 cm de fiecare parte a zidului, pentru a se putea aseza cofrajele pentru turnarea zidului (peretelui). Se poate considera ca valoarea minima constructiva pentru latimea fundatiei este:
B ≥ b0 + ( 10..20 ) cm
În care b0 este grosimea zidului ( peretelui ) care reazema pe fundatie.
Fundatiile cu sectiune dreptunghiulara se executa de regula când latimea talpii de fundatie nu depaseste 1,00 m.
- Fundatii cu evazari ( fig. 1b )
Se folosesc când latimea talpii fundatiei rezulta mai mare decât latimea zidului cu 25.35 cm de fiecare parte a acestuia, iar terenul are coeziune suficienta pentru executarea evazarilor în peretii sapaturii. La executarea acestor fundatii se vor respecta urmatoarele reguli:
-latimea evazarii sa fie cel mult 15 cm
-panta evazarii sa fie de circa 4 / 1
-cofrarea sa se execute cu putin timp înainte de turnarea betonului
- Fundatii cu trepte ( fig. 1c)
Se folosesc când talpa fundatiei rezulta mai lata cu 35.40 cm de fiecare parte a zidului. Treptele trebuie sa aiba înaltimea de cel puti 40 cm, iar tg α valori cuprinse între 1,1 si 1,8 în functie de presiunea maxima pe teren si de marca betonului din care se realizeaza fundatia. Spatiul dintre peretele sapaturii si fundatie se umple cu pamânt bine compactat cu maiul în straturi de 20 cm.

Fig. 1 Fundatii continue de beton simplu sub ziduri
1 – bloc fundatie; 2 – perete ( zid ); 3 – placa suport a pardoselii; 4 – strat de rupere a capilaritatii; 5 – teren natural; 6 – hidroizolatie; 7 – fundatie în trepte; 8 – umplutura de pamânt.
În fig. 2 se indica alcatuirea fundatiilor pentru zidul exterior si interior la o constructie fara subsol.

Fig. 2 Fundatii la constructii fara subsol
a – la zid exterior; b – la zid interior;
1 – perete ( zid ); 2 – bloc de fundatie; 3 – hidroizolatie; 4 – placa suport pardoseala; 5 – strat de rupere a capilaritatii; 6 – teren natural; 7 – soclu de beton; 8 – umplutura; 9 – trotuar; 10 – dop de bitum; 11 – protectia soclului de tencuiala hidrofuga;12 – nisip.
La constructiile cu subsol fundatiile zidurilor exterioare se alcatuiesc ca în figura 3.

Fig. 3 Fundatii continue rigide sub ziduri la constructii cu subsol
a – la zid exterior; b – la zid interior
1 – zidarie ( perete ); 2 – fundatie; 3 – hidroizolatie; 4 – placa suport pardoseala; 5 – strat pentru ruperea capilaritatii; 6 – teren natural; 7 – zidarie de protectie a hidroizolatiei; 8 – trotuar; 9 – nisip.
1.2. Fundatii continue din beton armat sub ziduri ( elastice )
În figura 4 sunt prezentate fundatii continue elastice sub ziduri. La latimi mici, fundatiile continue elastice sub ziduri se prevad cu sectiune dreptunghiulara, iar la latimi mai mari se proiecteaza fundatii continue elastice cu pante sau tesite, sau sub forma de grinda.
Fundatia se toarna pe un strat de beton de egalizare ( B 25 ) de 5.10 cm grosime. Talpa fundatiei se armeaza la partea inferioara cu armatura de rezistenta, alcatuita din bare drepte din otel – beton cu diametrul minim de 10 mm, asezate sa 10.25 cm, dispuse transversal si cu armatura de repartitie prevazuta în sens longitudinal, alcatuita din Ø 6 / 25 cm. Armatura înclinata se prevede numai daca rezulta din calculul de dimensionare si are diametrul minim de 12 mm.

a ) b ) c )
Fig. 4 Fundatii continue elastice sub ziduri
a – cu sectiune dreptunghiulara; b – cu pante; c – sub forma de grinda;
1 – zidarie ( perete ); 2 – fundatie; 3 – beton de egalizare 5.10 cm.
1.3. Fundatii sub ziduri despartitoare.
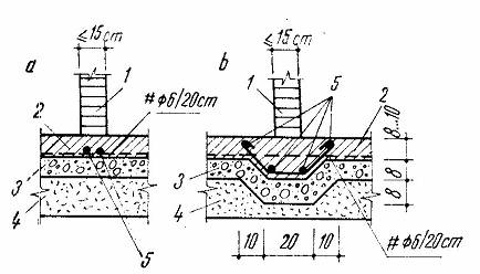
Fundatia se realizeaza direct de catre placa – suport a pardoselii parterului sau subsolului si se executa numai sub ziduri despartitoare, neportante, de cel mult 15 cm grosime si de înaltimea unui nivel. Se pot întâlni urmatoarele situatii:
-placa de pardoseala este asezata pe teren sanatos. În acest caz placa se executa din beton simplu de 8.10 cm grosime, iar zidul despartitor se aseaza direct pe placa. Daca sub placa se gasesc conducte de instalatii îngropate, placa se armeaza cu o retea Ø 6 / 20 cm si se executa din beton B 100.
-placa de pardoseala este asezata pe umplutura, acesta fiind cazul cel mai frecvent întâlnit în executie. Placa se executa din beton B 100 cu grosimea de 8.10 cm si se armeaza cu o retea Ø 6 / 20 cm. Daca umplutura nu depaseste 40 cm grosime, în placa, în lungul zidului se prevede o armatura suplimentara 2 Ø 8 ( 10 ) mm (fig. 5a). Daca umplutura este mai mare de 40 cm grosime se prevede o îngrosare a placii de-a lungul zidului care se va arma cu bare longitudinale 4 Ø 8 ( 10 ) mm si etrieri deschisi Ø 6 / 20.25 cm ( fig. 5b ).

Fig. 5 Fundatii sub ziduri despartitoare
a – cu grosimea umpluturii mai mica de 40 cm; b – cu grosimea umpluturii mai mare de 40 cm:
1 – zid despartitor; 2 – placa suport a pardoselii; 3 – pietris; 4 – umplutura; 5 – armatura suplimentara.
- FUNDAŢII SUB STÂLPI
2.1. Fundatii izolate sub stâlpi
Fundatiile izolate sub stâlpi sunt de doua tipuri: fundatii cu bloc de beton simplu si cuzinet de beton armat; fundatii cu talpa din beton armat.
- Fundatiile cu bloc de beton simplu si cuzinet de beton armat ( fig. 6 ) sunt alcatuite dintr-un bloc de beton simplu, pe care reazema stâlpul de beton armat prin intermediul unui cuzinet. Blocul de beton simplu are înaltimea minima de 40.60 cm; pentru înaltimi mai mari fundatia se executa în trepte, dar nu mai mult de trei. Blocul se executa din beton simplu marca B 50, iar daca cuzinetul se ancoreaza în bloc, acesta se executa din B 100. Cuzinetul se armeaza la partea inferioara cu o plasa din bare drepte, dispuse paralel cu laturile, având diametrul cel putin 10 mm si distanta între ele de 10.25 cm.

Fig. 6 Fundatii izolate sub stâlpi, cu bloc si cuzinet
1 – stâlp; 2 – cuzinet; 3 – bloc de fundatie
- Fundatii cu talpi de beton armat ( fig. 7 ) – se executa fie sub forma prismatica, când suprafata bazei este cel mult egala cu 1m2, fie ca prisma cu fata superioara tesita. Înaltimea H a fundatiei se ia minimum 30 cm; raportul H/B = 0,25..0,35; înaltimea H‘ la marginea obeliscului fundatiei se ia ( 1 / 2..1 / 3 ) H si cel putin 20 cm. Fundatia se armeaza la partea inferioara cu o plasa din bare drepte dispuse paralel cu laturile, cu diametrul minimum 10 mm si distanta maxima între bare de 25 cm. Marca betonului utilizat este cel putin B 150 si poate ajunge pâna la marca betonului din stâlpi.

Fig. 7 Fundatii sub stâlpi, cu talpa de beton armat
a – prismatica; b – prismatica cu fata tesita ( obelisc )
1 – stâlp; 2 – fundatie elastica; 3 – beton de egalizare
2.2. Fundatii continue sub stâlpi
Din cauza naturii terenului si a încarcarilor importante, uneori suprafetele fundatiilor izolate devin foarte mari; în acest caz se adopta solutia de fundatii cu grinda continua ( fig. 8 ).

Fig. 8 Fundatie cu grinda ( talpa ) continua
1 – stâlp; 2 – talpa cu vute; 3 – talpa fara vute
Daca încarcarile sunt mari si terenul de fundare este slab se adopta solutia de fundatii cu talpi continue încrucisate ( fig. 9 ).

Fig. 9 Fundatie cu talpi continue încrucisate
1 – stâlpi; 2 – talpi de beton armat
Daca talpile încrucisate ajung la dimensiuni mari, din cauza presiunii terenului, apropiindu-se prea mult între ele, constructia se fundeaza pe un radier general ( fig. 10 ).

Fig. 10 Radier cu placa dreapta
1 – stâlpi; 2 – placa; 3 – beton de egalizare
2.3. Fundatii prefabricate ( fig. 11 )
Forma cea mai utilizata este fundatia tip pahar folosita ca un bloc de forma speciala, care este prevazut cu un locas în care se monteaza stâlpul de beton armat. Locasul va fi cu cel putin 10 cm mai mare decât stâlpul; dupa asezarea stâlpului se umple cu beton monolit. Sub fundatia – pahar se prevede un strat de beton de egalizare având grosimea de 5.10 cm.

Fig. 11 Fundatii pahar
a – sectiune verticala; b – sectiune orizontala
1 – peretele paharului; 2 – stâlp; 3 – beton de monolitizare; 4 – beton de egalizare.
- FUNDAŢII INDIRECTE
Aceste fundatii se folosesc când terenul bun de fundare se gaseste la adâncimi de peste 6 m, când nivelul apelor subterane este ridicat si fundarea directa devine neeconomica sau chiar necorespunzator din punct de vedere tehnic.
Fundatiile indirecte se executa cu scopul de a transmite încarcarile constructiei la straturile mai adânci ale pamântului ( pot ajunge la 30.40 m adâncime ) strapungându-se cele neconsistente si care nu pot prelua încarcarile date de constructie.
Fundatiile indirecte sunt:
- Fundatii pe piloti
-piloti prefabricati
-piloti executati direct în opera ( piloti forati, piloti cu tub metalic de protectie pierdut, piloti executati cu tub metalic de protectie recuperabil )
- Fundatii pe chesoane
-fundatii pe chesoane deschise
-fundatii pe chesoane cu aer comprimat
- Fundatii pe coloane